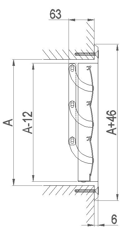
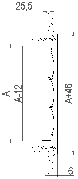
Στόμιο βαρύτητας τοίχου κατασκευασμένο από ανοδιωμένο αλουμίνιο για απόρριψη του αέρα λόγω υπερπίεσης. Τα πτερύγια φέρουν πλαστικά παρεμβύσματα για μείωση του θορύβου κατά το κλείσιμο. Αν το στόμιο έχει 3 ή περισσότερα πτερύγια τότε αυτά είναι γεφυρωμένα για ποιο ομαλή λειτουργία. Τα πτερύγια είναι παράλληλα στην πρώτη αναφερόμενη διάσταση. Είναι δυνατή η ηλεκτροστατική βαφή σε χρώμα RAL.
Διατίθεται στις παρακάτω εκδόσεις:
- B-PVC: Με πλαστικά μη γεφυρωμένα πτερύγια.


